美国陶氏膜工业应用解决方案服务商!代理销售原装进口全型号陶氏膜产品
咨询热线:15714016422



陶氏膜iLEC™端面自锁连接技术和传统压力容器端板适配器
时间:2019-12-31 09:35:29   作者:陶氏膜
传统压力容器端板适配器

iLEC™陶氏膜元件与传统压力容器端板适配器完全兼容,在仍使用传统压力容器端板适配器安装iLEC陶氏膜元件的最后一支膜元件(1)时,须保证膜元件的下游端面顶住抗应力器(2),这样膜元件才能被压力容器适配器(3)及抗应力器同时有效地支撑住。

iLEC端面自锁连接压力容器端板适配器
如下图所示,安装陶氏膜元件的最后一支膜元件(1)时,须保证膜元件的下游端面顶住抗应力器(2),这样膜元件才能被压力容器适配器(3)及抗应力器同时有效地支撑住。

特别提醒:
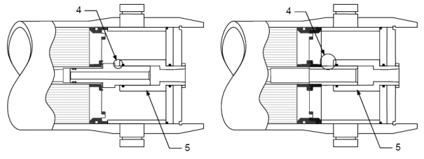
如下图所示,若将陶氏膜元件进水方向安装反了,在压力容器端板出水口(5)和端板适配器之间将会出现较大间隙(4),运行时该陶氏膜元件无法得到恰当的支撑分散水流的推力,将会发生望远镜状膜元件损坏。

传统压力容器端板适配器
陶氏膜元件与传统压力容器端板适配器完全兼容,最后一支膜元件(1)的下游端面须顶住抗应力器(2),这样膜元件才能有效地被压力容器适配器(3)及抗应力器同时支撑住。
相关推荐
RECOMMEND
相关案例
PROJECT PERFORMANCE
地址:北京市丰台区南三环西路28号院中林置业大厦
电话:15714016422